曾有傳聞說 Apple 創辦人賈伯斯受某一集哆啦 a 夢卡通的影響,決心要打造出卡通裡面萬用的科技產品,無論這個傳聞是否屬實,總之這家公司打造的產品確實是在一步一步走向無所不包的境界。不滿足於只坐 3C 界龍頭寶座,Apple 打算將我們生活周邊所有科技產品通通整合在一台裝置上,而最近他們把焦點放到防災設備上。日前一份文件曝光,內容是 Apple 向美國專利商標局申請煙霧偵測專利,而且已經通過。

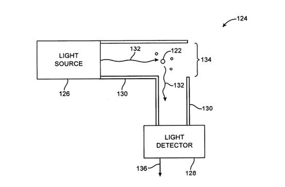
▲ Apple 申請的煙霧偵測技術,運作原理是用內建的光線偵測器感應,當光線中有煙霧顆粒,裝置就會發出警報。
添加防災功能的 Apple 產品,有這些功能:
煙霧偵測
一旦偵測到煙霧或起火,Apple 裝置裡的警報通知就會被觸發,並自動通知其他 Apple 裝置,例如家裡的 iMac 偵測到室內有煙霧,會立刻傳送通知到你帶出門的 iPhone、MacBook 等裝置,這樣你在第一時間就能知道有突發狀況,可以儘速處理。
遠端遙控灑水系統
假設家中有灑水系統更好,這個功能譲你還未到家前就先遙控啟動灑水裝置,及早撲滅火勢。
呼叫消防支援
如果情況到達一定程度,它也可以呼叫 119 提供支援。
定位服務助人脫困
假如真的有人受困火場時,開啟定位功能能夠幫助消防人員更快速找到受困者,增加救援效成功率。
這份曝光的專利文件中顯示 Apple 一次申請了 Mac、iPhone、iPad、AppleWatch 各種裝置的防災功能專利,有可能只是申請來以備不時之需,但也可能 Apple 真的打算一次在全系列產品都加入防災功能。這樣的功能當然是能不用到就別用到的好,不過能夠有效增加防災產品普及率也不壞,很少人會特別去買煙霧偵測器,但用 iPhone 的人滿街都是 ~
